Um unseren Shop in vollem Umfang nutzen zu können, empfehlen wir Ihnen Javascript in Ihrem Browser zu aktivieren.
Kostenloser Versand ab 100 € Bestellwert innerhalb Deutschland
Persönliche Beratung
Reparatur & Service Bereich
Service 06202 578 4042
Navigation
Navigation
Suche
Mein Konto
Menü schließen
Ihr Konto
Anmelden
oder
registrieren
Übersicht
Persönliches Profil
Adressen
Zahlungsarten
Bestellungen
Warenkorb
0,00 €*
SALE !
Honda Teile
KMP Stuff
Kinder
Motocrossausrüstung
Motocrossteile
Motocrosszubehör
Freizeit
Zur Kategorie Honda Teile
Artikel
CRF 250RL Bj 2020
CRF 250RM Bj 2021
CRF 250RN Bj 2022
CRF 250RP Bj 2023
CRF 250RR Bj 2024
CRF 450RL Bj 2020
CRF 450RM Bj 2021
CRF 450RN Bj 2022
CRF 450RP Bj 2023
CRF 450RX Bj 2024
Zur Kategorie KMP Stuff
Hoodys
Jacken
KMP Gutscheine
Max Nagl
Mützen / Beanies
Sitzbezüge
T-Shirts
Umweltmatten
Zelte / Seitenwände
Zubehör
Zur Kategorie Kinder
Bekleidung
Handschuhe
Helme
MX-Brillen
Oneal Socken
Protektoren
Spielzeug
Stiefel
Zur Kategorie Motocrossausrüstung
Handschuhe
Helme
MX-Brillen
Jerseys
Hosen
Stiefel
Socken
Protektoren
Zur Kategorie Motocrossteile
Antrieb
Auspuffsysteme
Bremsen
Crossbox
Dekore
Design / Optik
Elektronik
Fahrwerke
Filter
Fußrasten
Gabelbrücken
Hebel / Armaturen
Kunststoffteile
Kühler & Zubehör
Lenker & Griffe
Motorteile
Reifen & Felgen
Sitzbankbezüge
Starthilfen
Öle & Pflege
Zur Kategorie Motocrosszubehör
Taschen
Transport
Werkzeug
Zubehör
Menü schließen
Zeige alle Kategorien
CRF 450RP Bj 2023
Zurück
CRF 450RP Bj 2023 anzeigen
Sie sind hier:
Honda Teile
CRF 450RP Bj 2023
Filter
Filter
Hersteller
Honda
Preis
Minimal
€
–
Maximal
€
1
2
3
Name A-Z
Name Z-A
Preis aufsteigend
Nach Set Artikel sortieren
Set Lagerbestand
Lagerbestand
Preis absteigend
Topseller
> 500 lagernd
E-1 Zylinderkopfdeckel CRF 450 Bj 2023
Ab
0,00 €*
Details
> 500 lagernd
E-10 Kurbelgehäusedeckel, L. CRF 450 Bj 2023
Ab
0,00 €*
Details
> 500 lagernd
E-11 Generator CRF 450 Bj 2023
Ab
0,00 €*
Details
> 500 lagernd
E-13 Anlasser CRF 450 Bj 2023
Ab
0,00 €*
Details
> 500 lagernd
E-14 Ölpumpe CRF 450 Bj 2023
Ab
0,00 €*
Details
> 500 lagernd
E-15 Kurbelgehäuse CRF 450 Bj 2023
Ab
0,00 €*
Details
> 500 lagernd
E-16 Kurbelwelle / Kolben CRF 450 Bj 2023
Ab
0,00 €*
Details
> 500 lagernd
E-16-10 Ausgleicher CRF 450 Bj 2023
Ab
0,00 €*
Details
> 500 lagernd
E-17 Getriebe CRF 450 Bj 2023
Ab
0,00 €*
Details
> 500 lagernd
E-19 Schalttrommel CRF 450 Bj 2023
Ab
0,00 €*
Details
> 500 lagernd
E-2 Zylinderkopf CRF 450 Bj 2023
Ab
0,00 €*
Details
> 500 lagernd
E-23 Drosselklappengehäuse CRF 450 Bj 2023
Ab
0,00 €*
Details
> 500 lagernd
E-3 Nockenwelle/Ventil CRF 450 Bj 2023
Ab
0,00 €*
Details
> 500 lagernd
E-4 Nockenwellenkette/Spannvorrichtung CRF 450 Bj 2023
Ab
0,00 €*
Details
> 500 lagernd
E-5 Zylinder CRF 450 Bj 2023
Ab
0,00 €*
Details
> 500 lagernd
E-6 Kurbelgehäuseabdeckung/Wasserpumpe CRF 450 Bj 2023
Ab
0,00 €*
Details
> 500 lagernd
E-8 Kupplung CRF 450 Bj 2023
Ab
0,00 €*
Details
> 500 lagernd
E-9 Anlasserkupplung CRF 450 Bj 2023
Ab
0,00 €*
Details
> 500 lagernd
EOP-1 Dichtung Satz A CRF 450 Bj 2023
0,00 €*
Details
> 500 lagernd
EOP-2 Dichtung Satz B CRF 450 Bj 2023
0,00 €*
Details
> 500 lagernd
F-10 Kotflügel, vorne CRF 450 Bj 2023
Ab
0,00 €*
Details
> 500 lagernd
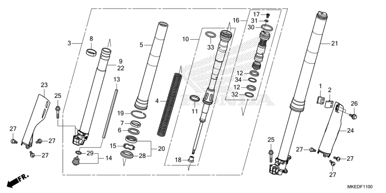
F-11 Gabel, vorne CRF 450 Bj 2023
Ab
0,00 €*
Details
> 500 lagernd
F-12 Vorderrad-Bremssattel CRF 450 Bj 2023
Ab
0,00 €*
Details
> 500 lagernd
F-14 Vorderrad CRF 450 Bj 2023
Ab
0,00 €*
Details
1
2
3
Kostenloser Versand ab 100 € Bestellwert innerhalb Deutschland
Persönliche Beratung
Reparatur & Service Bereich
Service 06202 578 4042
Diese Website verwendet Cookies, um eine bestmögliche Erfahrung bieten zu können.
Mehr Informationen ...
Ablehnen
Konfigurieren
Alle Cookies akzeptieren